
A patent filed by Canon for an Osmo like pocket camera has been found. You can check out the details below and the related images above:
overview
- [Publication number] P2024112386
- [Release date] 2024-08-21
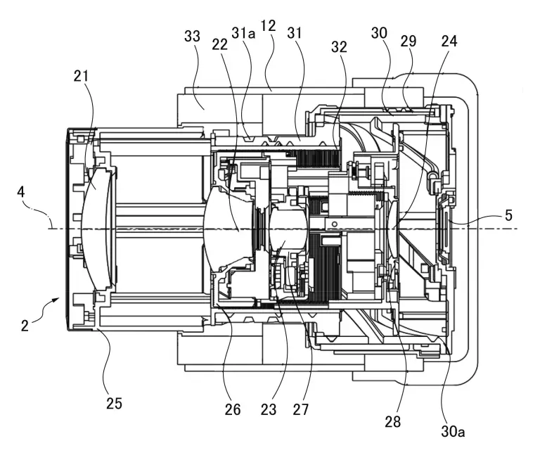
- [Title of Invention] Imaging device
- [Application date] 2023-02-08
- [Applicant]
[Identification number] 000001007
[Name or company name] Canon Inc. - An object of the present invention is to provide an imaging device that can be made lighter and smaller while ensuring accurate gimbal control.
- [Background Art]
[0002]
Conventionally, as a device that enables control to reduce camera shake or intentionally change the imaging angle of view, there is a so-called gimbal device that can rotate the camera unit on three axes, as in the technology described in Patent Document 1. In such a gimbal device, the camera unit may be a zoom lens barrel that can be changed from wide angle to telephoto in order to adapt to various shooting scenes. In this case, if the center of gravity of the zoom lens barrel moves due to the focal length, the accuracy of the gimbal control is affected, so for example, the technology described in Patent Document 2 prevents such a situation from occurring. Specifically, the technology described in Patent Document 2 moves a balance member in the opposite direction to the movement direction of the center of gravity of the zoom lens barrel, thereby suppressing the change in the position of the center of gravity of the zoom lens barrel and preventing the occurrence of a situation that affects the accuracy of the gimbal control. - [0004]
However, the technology described in Patent Document 2 adds a balance member and its movement mechanism to the zoom lens barrel, which are not actually necessary for the camera’s functions. Therefore, the technology described in Patent Document 2 has the problem of being an obstacle to weight reduction and size reduction. - [0005]
The present invention has been made in view of the above problems, and has an object to provide an imaging device that can be made lighter and smaller while ensuring accurate gimbal control.
via asobinet

